IC 4019: Everything You Need To Know

B.Osunstate 130 views
IC 4019: Everything You Need To Know

IC 4019: Decoding the Secrets of This Versatile Chip

Hey guys! Ever stumbled upon the IC 4019 , and felt a bit lost? Don’t worry, you’re not alone! This little chip is a real workhorse in the electronics world, but it can seem a bit cryptic at first. Think of it like a Swiss Army knife for digital circuits – super useful, but you need to know how to wield it. In this article, we’re going to break down the IC 4019 , from what it is, how it works, and how to troubleshoot it when things go a bit sideways. We’ll also cover some cool applications to spark your creativity. So, buckle up, and let’s dive in!

What Exactly Is the IC 4019?

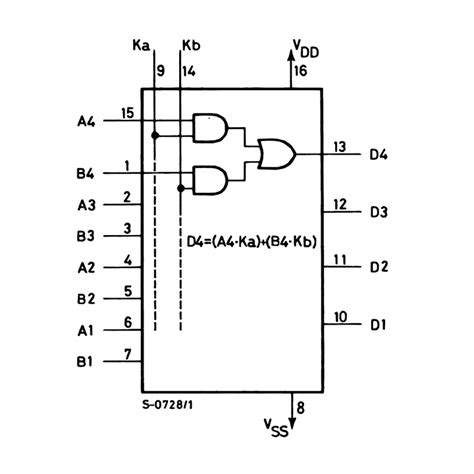
Alright, let’s start with the basics. The IC 4019 is a CMOS (Complementary Metal-Oxide-Semiconductor) quad AND-OR select gate. That’s a mouthful, right? Basically, it’s a single integrated circuit (IC) that contains four independent logic gates. These gates are designed to perform a combination of AND, OR, and selection functions. These chips are a part of the CD4000 series, a family of logic gates. This family is super popular and widely used because it’s known for its low power consumption and moderate operating speed. CMOS technology means the chip uses very little power when idle and only draws current when switching between states, making it a great choice for battery-powered projects and applications where efficiency matters.

Here’s the lowdown on the gate types within the IC 4019 : It has two AND gates, one OR gate, and an AND-OR select gate. This combination makes it incredibly versatile. These gates can be used to build a variety of digital circuits. Whether you’re working on a basic logic puzzle or a more complex digital system, this chip can be a handy tool. The ‘select’ part is crucial. It lets you choose between the outputs of the AND gates, providing some cool control possibilities. You can switch between two different sets of inputs, hence the ‘select’ function. The operating voltage is typically from 3V to 18V. The IC 4019 can be used in different circuits. This range makes it pretty flexible, as it can be used with a variety of power supplies. The input and output levels of the chip are also compatible with other CMOS logic families, such as the 74HC series. This interoperability is important when designing a circuit containing multiple ICs, making the integration much easier.

Decoding the Pinout: A Guide to Connections

Alright, now that we’ve got the basics covered, let’s take a look at the pinout. Understanding the pin configuration is crucial for correctly connecting the IC 4019 in your circuits. The chip typically comes in a 14-pin Dual In-line Package (DIP), which is the standard rectangular shape with pins along both sides. I’ll break it down for you, pin by pin. Pin 1 and Pin 2 are inputs to the first AND gate. Pin 3 is the output of the first AND gate. Pins 4 and 5 are inputs to the second AND gate. Pin 6 is the output of the second AND gate. Pin 7 is the ground connection (GND), often connected to the negative side of your power supply. Pins 8 and 9 are inputs to the OR gate. Pin 10 is the output of the OR gate. Pins 11 and 12 are control inputs for the AND-OR select gate. Pin 13 is the output of the AND-OR select gate. Pin 14 is the power supply connection (VCC), which is connected to the positive side of your power supply.

It’s important to remember that these pin functions are standard, but always double-check the datasheet for your specific IC 4019 variant, as there might be minor variations. When connecting the chip, use the correct voltage level, as exceeding the maximum voltage rating can damage the chip permanently. Take your time, double-check your connections, and you’ll be well on your way to successfully integrating the IC 4019 into your circuit. Also, notice the orientation. There’s usually a notch or a dot on the chip to indicate Pin 1. This helps in correctly aligning the chip on your breadboard or circuit board. Using a breadboard is super convenient for prototyping because you can easily make and change your connections without soldering. Be mindful of static electricity! Static discharge can damage the sensitive CMOS components inside the IC 4019 . Ground yourself before handling the chip, and use an anti-static wrist strap if possible. That way, you won’t accidentally fry your components!

Common Problems and Troubleshooting Tips

Even the most reliable components can run into issues. Let’s look at some common problems you might encounter with the IC 4019 and how to troubleshoot them. First, make sure you’ve got the power supply and ground connected correctly. If the chip isn’t powered, nothing will work! Double-check the voltage levels too – if the voltage is too high, you might damage the chip. If you’ve connected everything and still don’t get the expected results, the first step is to check your inputs. Use a multimeter or a logic probe to verify that you have the correct logic levels (high or low) at the inputs of the gates. If you’re using switches or other components to provide input, make sure they are working correctly.

Another common issue is incorrect wiring. This is where a breadboard and careful planning come in handy. Recheck your wiring diagram and compare it to your actual circuit. A single misplaced wire can cause unexpected results. If your outputs are not behaving as expected, use a multimeter or logic probe to check the outputs. This can help you identify if a gate is functioning correctly. If one or more of the gates is not working as expected, the IC 4019 itself might be faulty. In this case, you can replace the chip with a new one. Remember, it’s always good practice to keep a few spare components on hand. If you’re seeing unexpected behavior, it could be due to noise or interference in your circuit. These factors can affect the performance of logic gates. Make sure your circuit is well-shielded and that your components are placed correctly. Using decoupling capacitors close to the power supply pins is also a good practice, as they help to stabilize the power supply and reduce noise. If you’re working with high-frequency signals, you’ll need to pay even more attention to signal integrity and proper grounding techniques. By following these steps, you can troubleshoot most of the problems you’re likely to encounter with the IC 4019 .

Applications: Unleashing the Potential of the IC 4019

The IC 4019 is an incredibly versatile chip, making it a valuable tool for a wide range of applications. This makes it a perfect fit for a variety of digital design projects. Whether you are a beginner or a seasoned electronics enthusiast, this chip provides an exciting way to explore the world of digital logic and circuit design. One of the most common applications for the IC 4019 is in creating basic logic gates. You can combine the AND, OR, and AND-OR select gates to build complex logic functions. This is a fundamental skill in digital electronics, and the IC 4019 makes it easy to experiment with different logic combinations. The chip also excels in data selection. The AND-OR select gate allows you to choose between two different data paths, making it ideal for multiplexing applications. This means that you can select which of several input signals to pass to the output based on the control signal. This is really useful in systems where you need to switch between different data sources.

Another cool application is building simple control circuits. For example, you can use the IC 4019 to control LEDs, relays, and other output devices. By combining the gates in the right way, you can create circuits that respond to various input conditions. Imagine a circuit that turns on an LED when two switches are closed (AND function) or when either of two switches are closed (OR function). The chip is also used in creating basic arithmetic circuits. Although the IC 4019 is not a full-fledged arithmetic logic unit (ALU), you can use its gates to build simple adders, subtractors, and other arithmetic functions. This is great for learning the basics of digital arithmetic. This chip is especially useful when creating educational projects or simple digital designs. This chip is perfect for creating digital logic experiments and exploring various circuit functionalities. The possibilities are truly endless, limited only by your imagination and circuit design skills.

Conclusion: Your Journey with the IC 4019

So, there you have it, folks! We’ve covered the basics of the IC 4019 , from what it is and how it works to how to troubleshoot it and some of its many applications. This chip is a fantastic starting point for anyone getting into digital electronics. It’s affordable, easy to use, and incredibly versatile. By experimenting with the IC 4019 , you’ll develop a solid understanding of digital logic and circuit design principles. This knowledge will serve you well in all your future electronics projects. Remember to always start with the basics. Practice building simple circuits first and then gradually move on to more complex designs. Use a breadboard to experiment and try different configurations. Don’t be afraid to make mistakes – that’s how you learn!

The next time you’re working on a project that requires logic gates, data selection, or simple control functions, consider using the IC 4019 . With a little bit of experimentation and creativity, you’ll be amazed at what you can achieve! Happy experimenting, and keep those circuits flowing! If you have any questions or want to share your projects, feel free to drop a comment below. We are here to help and learn together! Happy building!